<samp id="jw3b8"></samp>
  • <progress id="jw3b8"><bdo id="jw3b8"></bdo></progress>
      <menuitem id="jw3b8"><strong id="jw3b8"></strong></menuitem>
    1. <tbody id="jw3b8"></tbody>
      <progress id="jw3b8"></progress>
      <tbody id="jw3b8"></tbody>

    2. <progress id="jw3b8"><bdo id="jw3b8"></bdo></progress><progress id="jw3b8"></progress>
      1. <menuitem id="jw3b8"><strong id="jw3b8"></strong></menuitem>

        <menuitem id="jw3b8"><ins id="jw3b8"></ins></menuitem>
        <samp id="jw3b8"></samp>

        三思泰捷
        國家高新技術企業英文站收藏我們 網站地圖

        三思泰捷

        試驗機專業制造商

        全國服務熱線: 400-666-9399

        技術動態

        聯系我們

        • 400電話: 400-666-9399
        • 座機: 0756-6869900
        • 傳真:0756-68699001
        • QQ:2394083538
        • 郵箱: sstj@sstjtest.com
        • 地址:珠海市香洲區前山工業園華宇路601號3棟一層
        ?GB/T6329-1996膠粘劑拉伸強度試驗機測試

        ?GB/T6329-1996膠粘劑拉伸強度試驗機測試 2020-10-20

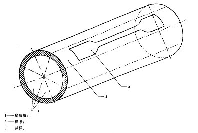
        膠接(粘合、粘接、膠結、膠粘)是指同質或異質物體表面用膠粘劑連接在一起的技術,具有應力分膠粘劑布連續,重量輕,或密封,多數工藝溫度低等特點。膠接特別適用于不同材質、不同厚度、超薄規格和復雜構件的連接。膠粘劑的對接接頭需要測…...
        ?GB/T12914-2008紙和紙板抗張強度試驗機測試

        ?GB/T12914-2008紙和紙板抗張強度試驗機測試 2020-10-20

        除瓦楞紙之外的其他紙和紙板,需要測試抗張強度指標,國標GB/T12914-2008就是關于此方法的規定,有兩種測試方法,一是恒速加荷法,二是恒速拉伸法。都要用到試驗機來完成。抗張強度,是在標準試驗方法所規定的條件下,單位寬度的紙或紙板斷…...
        ?玻璃鋼環形試樣力學試驗GB/T1458-2008

        ?玻璃鋼環形試樣力學試驗GB/T1458-2008 2020-10-20

        玻璃鋼(也稱玻璃纖維增強塑料,國際公認的縮寫符號為GFRP或FRP),是一種品種繁多,性能各別,用途廣泛的復合材料。它是由合成樹脂和玻璃纖維經復合工藝,制作而成的一種功能型的新型材料。纖維纏繞增強塑料的力學性能需要按照GB/T1458-20…...
        ?PVC管材試驗機拉伸GB/T8804.1-2003

        ?PVC管材試驗機拉伸GB/T8804.1-2003 2020-10-20

        熱塑性塑料管材PVC管材的拉伸性能主要測定拉伸屈服應力和斷裂伸長率,使用橡膠塑料拉力試驗機。GB/T8804.1就是關于試驗方法的規定。試驗原理是,首先沿熱塑性塑料管材的縱向裁切或機械加工制取規定形狀和尺寸的試樣,然后通過拉力試驗機在規…...
        ?GB/T3362-2005試驗機碳纖維絲拉伸測試

        ?GB/T3362-2005試驗機碳纖維絲拉伸測試 2020-10-20

        碳纖維絲,一般所關注的是其力學性能,對于1K至12K碳纖維復絲,需要再浸膠后測定拉伸強度、拉伸彈性模量和斷裂伸長率。國標GB/T3362-2005就是此試驗方法的規定,所用儀器主要為拉力試驗機。碳纖維復絲的拉伸強度和拉伸彈性模量,通過浸漬樹…...
        ?YY/T0148-2006醫用膠帶剝離強度與彈性試驗

        ?YY/T0148-2006醫用膠帶剝離強度與彈性試驗 2020-10-20

        醫用膠帶的標準YY/T0148-2006,規定了各類與體表和創面接觸的醫用膠帶又稱粘貼繃帶,包括粘貼敷料的通用要求。醫用膠帶需要測試剝離強度、彈性等指標,通過拉力機來完成測試。剝離強度,要求粘貼膠帶每1cm寬度所需的平均力應不小于 未命名試…...
        ?YY0331-2002醫用脫脂紗布的拉力機測試

        ?YY0331-2002醫用脫脂紗布的拉力機測試 2020-10-20

        醫用標準YY0331-2002適用于采用未經重復加工的、成熟種子的毛絨經紡紗織造的平紋棉布,經脫脂、漂白、精制而成供醫療用的紗布,其中不得含有其他纖維和加工物質。醫用脫脂紗布的抗拉強度指標,需要通過拉力機測試得出。計算公式為:抗拉強度…...
        試驗機測石墨電極抗折強度GB/T3074.1-2008

        試驗機測石墨電極抗折強度GB/T3074.1-2008 2020-10-20

        根據國標GB/T3074.1-2008,石墨電極需要測試抗折強度,使用材料試驗機來完成。量程一般為5kN。抗折強度,是材料受外力彎曲時所能承受的最大負荷,其數值為試樣彎曲斷裂時,橫截面上正應力的大小。石墨電極的試驗機抗折強度測定采用四點彎曲…...
        FZ/T 10003-2011帆布拉伸試驗機測試

        FZ/T 10003-2011帆布拉伸試驗機測試 2020-10-20

        帆布織物需要測試斷裂強力、斷裂伸長率等性能參數,使用拉力試驗機來進行測試,紡織行業標準中FZ/T 10003-2011就是帆布織物試驗方法,對此有詳細規定。對拉力試驗機的要求是,等速伸長型,試驗機橫梁運行速度為100~110mm/min,試驗機使用鉗…...
        HG/T 3844-2008硬質橡膠彎曲強度試驗機測定

        HG/T 3844-2008硬質橡膠彎曲強度試驗機測定 2020-10-20

        發布日期:2019-06-27 點擊次數: 1071硬質橡膠除需要測定壓碎強度外,還需要測定彎曲強度,也是采用試驗機來完成測試。化工行業標準HG/T 3844-2008是硬質橡膠彎曲強度的測定方法。將硬質橡膠置于試驗機彎曲夾具兩支座間的中心位置,施加靜…...
        HG/T3863-2008硬質橡膠壓碎強度試驗機測試

        HG/T3863-2008硬質橡膠壓碎強度試驗機測試 2020-10-20

        硬質橡膠是在橡膠中加入硫磺和其他配合劑,經硫化制造成的一種硬質材料,由于大量硫化劑的作用,是其具備較高的硬度。耐介質、耐電、耐熱、耐沖擊等硬質橡膠,其壓碎強度的測定方法,需要使用拉力試驗機來完成,化工行業標準HG/T3863-2008對…...
        精密塑料拉伸試驗方案GB-T 1040.3-2006

        精密塑料拉伸試驗方案GB-T 1040.3-2006 2020-10-20

        某精密塑料公司的塑料拉伸試驗方案試驗標準:GB-T 1040.3-2006試驗設備:三思泰捷CMT1503電子萬能試驗機試驗日期:2012-07-20 16:27:01試樣形狀:板材材料名稱:塑料試驗速度:50 mm/min原始標距(Lo):25 mm試樣平行長度:35 mm濕度:76%…...
        汽車氣門嘴拉脫試驗方案

        汽車氣門嘴拉脫試驗方案 2020-10-20

        汽車用氣門嘴拉脫試驗數據曲線: ...
        ?GB/T 6095-2009安全帶安全繩靜負荷測試

        ?GB/T 6095-2009安全帶安全繩靜負荷測試 2020-10-20

        安全帶、安全繩作為一種保護設備,其自身的力學性能至關重要,國標GB/T 6095-2009規定了其測試方法,其中萬能試驗機是主要試驗設備。安全帶安全繩靜態負荷測試,使用的是萬能材料試驗機,量程一般小于50kN,精度1級。安全帶夾具夾持方法示意…...
        紙板環壓強度試驗機測定GB/T2679.8-1995

        紙板環壓強度試驗機測定GB/T2679.8-1995 2020-10-20

        對于厚度0.15~1mm制造紙箱和紙盒的紙及紙板,需要測試環壓強度,國標GB/T2679.8-1995規定了測試方法。環壓強度,是環形試樣邊緣受壓直至壓潰時所能承受的最大壓縮力。壓縮試驗機的精度要求不低于1級,壓盤大小應不小于100mm*100mm,板面平直…...
        ?安全帽的側向剛性試驗機測試GB/T2812-2006

        ?安全帽的側向剛性試驗機測試GB/T2812-2006 2020-10-20

        安全帽的側向剛性,是衡量其質量的重要方面,其測試裝置由萬能試驗機和兩個直徑為100MM的金屬平板組成。萬能試驗機的測量精度為1級,金屬平板的硬度要求為45HRC。安全帽的側向剛性的試驗機測試按照國標GB/T2812-2006執行。測試方法是:將安…...
        ?建筑石膏強度試驗機測試GB/T 17669.3-1999

        ?建筑石膏強度試驗機測試GB/T 17669.3-1999 2020-10-20

        建筑用石膏,需要測試抗折強度、抗壓強度以及石膏硬度,國標GB/T 17669.3-1999是專門對于其測定方法的規定。通過專門的試驗機設備來測試。抗折強度試驗,使用的是電動抗折試驗機;而抗壓強度測試,使用壓力試驗機來完成。抗折試驗時,將試樣…...
        金屬材料高溫拉伸試驗機測試GB/T4338-2006

        金屬材料高溫拉伸試驗機測試GB/T4338-2006 2020-10-20

        金屬材料的高溫拉伸試驗,是指高于35度常溫環境下做的拉伸測試。除了常規的高溫拉伸,部分材料還需要做持久、蠕變等高溫試驗。國標GB/T 4338-2006規定的是常規高溫拉伸試驗方法。在規定溫度下,對試樣進行拉伸,直至斷裂,測定拉伸力學性能…...
        ?GB/T 5593電子元器件結構陶瓷材料抗折試驗

        ?GB/T 5593電子元器件結構陶瓷材料抗折試驗 2020-10-20

        陶瓷材料,被廣泛應用于電子元器件領域,如裝置零件、電子管、電阻基體、半導體及集成電路等場合。國標GB/T 5593-1996就是關于電子元器件結構陶瓷材料的相關規定。其中,陶瓷材料有抗折強度的性能要求,其試驗數據通過試驗機來測量。測量陶…...
        皮革涂層粘著牢度拉力機測定GB/T4689.20

        皮革涂層粘著牢度拉力機測定GB/T4689.20 2020-10-20

        皮革涂層與皮革之間的粘著牢度,以及貼膜革的測定,通過拉力機來完成。國標GB/T4689.20-1996對此做了具體規定。利用無溶劑型粘合劑,將一條皮革的部分涂飾層面粘合到粘合板上,在條狀皮革的自由端施加力,使皮革涂層剝落規定的長度,涂飾層…...
        激情五月网