<samp id="jw3b8"></samp>
  • <progress id="jw3b8"><bdo id="jw3b8"></bdo></progress>
      <menuitem id="jw3b8"><strong id="jw3b8"></strong></menuitem>
    1. <tbody id="jw3b8"></tbody>
      <progress id="jw3b8"></progress>
      <tbody id="jw3b8"></tbody>

    2. <progress id="jw3b8"><bdo id="jw3b8"></bdo></progress><progress id="jw3b8"></progress>
      1. <menuitem id="jw3b8"><strong id="jw3b8"></strong></menuitem>

        <menuitem id="jw3b8"><ins id="jw3b8"></ins></menuitem>
        <samp id="jw3b8"></samp>

        三思泰捷
        國家高新技術企業英文站收藏我們 網站地圖

        三思泰捷

        試驗機專業制造商

        全國服務熱線: 400-666-9399

        技術動態

        聯系我們

        • 400電話: 400-666-9399
        • 座機: 0756-6869900
        • 傳真:0756-68699001
        • QQ:2394083538
        • 郵箱: sstj@sstjtest.com
        • 地址:珠海市香洲區前山工業園華宇路601號3棟一層
        鋼絲帶破斷試驗機拉伸測試方案

        鋼絲帶破斷試驗機拉伸測試方案 2020-10-21

        試驗方案:鋼絲帶破斷試驗機拉伸測試方案試驗速度:13 mm/min試驗日期:2013-03-29 15:30:25送檢單位:日立電梯試驗設備:CMT5305備 注:該鋼絲帶為橡膠與鋼絲線材的組合體,所用夾具為專用夾具,測試破斷最大力。用戶為三思泰捷老用戶單位…...
        ?GB/T7019-1997纖維水泥制品試驗機測試

        ?GB/T7019-1997纖維水泥制品試驗機測試 2020-10-21

        纖維水泥是一種由均勻分散的纖維或纖維網片與水泥凈漿或砂漿組成的復合材料。包括纖維水泥波瓦、平板、半波瓦、脊瓦、纖維水泥管等產品。國標GB/T7019-1997就規定了此類產品的檢驗和試驗辦法。其中的波瓦抗折試驗,需要使用萬能試驗機來完成…...
        GB/T 28487-2012貴金屬及其合金鏈抗拉強度的測定

        GB/T 28487-2012貴金屬及其合金鏈抗拉強度的測定 2020-10-21

        去年11月份開始實施的GB/T 28487-2012貴金屬及其合金鏈抗拉強度的測定拉伸試驗法,在首飾行業應用試驗機進行機械性能測試提出了技術規范。標準規定了在規定條件下,測定貴金屬及其合金鏈抗拉強度測試方法的一般原則,適用于符合GB11887規定的…...
        GB/T 28770-2012釬焊軟釬料的拉力機測試

        GB/T 28770-2012釬焊軟釬料的拉力機測試 2020-10-21

        國標GB/T 28770-2012軟釬料的試驗方法,已于2013-03-01起實施,需要使用試驗機進行測試。釬焊是采用比母材熔點低的金屬材料作釬料,將焊件和釬料加熱到高于釬料熔點,低于母材熔化溫度,利用液態釬料潤濕母材,填充接頭間隙并與母材相互擴散…...
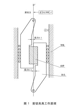
        車輛制動襯片剪切強度拉力機測試方法GB/T 26739-2011

        車輛制動襯片剪切強度拉力機測試方法GB/T 26739-2011 2020-10-21

        車輛在使用情況下剎車時,在盤式制動器襯塊材料內部會產生很大的剪切應力,在鼓式制動器襯片中,剪切應力會因幾何效應而增大。國標GB/T 26739-2011規定了通過拉力機如何測試相應的剪切應力。本標準已于2012年3月起實施。圖為所需的剪切夾具…...
        GB18173-2012防水材料新標出臺所涉試驗機測試加強

        GB18173-2012防水材料新標出臺所涉試驗機測試加強 2020-10-21

        防水材料新國標GB18173-2012將于6月起執行。高分子防水材料,是用于各類工程防水、防滲、防潮、隔氣、防污染、排水等的均質材料,以高分子材料為主材料,從6月起,原國標GB 18173.1-2006將升級為GB 18173-2012。新國標增加了自粘片、異型片…...
        GB/T 29459.2-2012 在役承壓設備金屬材料小沖桿試驗機壓縮測試

        GB/T 29459.2-2012 在役承壓設備金屬材料小沖桿試驗機壓縮測試 2020-10-21

        GB/T 29459.2-2012 在役承壓設備金屬材料小沖桿試驗方法 第2部分:室溫下拉伸性能的試驗方法將于2013年7月起實施,它規定了此類材料通過試驗機如何測定力學性能參數。在役承壓設備金屬材料一般指存在于火電、核電、石化、冶金行業的在役鍋爐…...
        GB/T 29418-2012塑木復合材料需做試驗機測試

        GB/T 29418-2012塑木復合材料需做試驗機測試 2020-10-21

        在本年度將要實施的標準中,有一個《塑木復合材料產品物理力學性能測試》(GB/T 29418-2012)是將于8月份實施的,該標準涉及到對材料試驗機應用的要求,是國標對此類產品的力學檢測提出的具體而更嚴格的執行標準。該標準由南京聚鋒新材料有限…...
        碳纖維絲拉力試驗機測試GB-T 3362-2005

        碳纖維絲拉力試驗機測試GB-T 3362-2005 2020-10-21

        試驗方案:碳纖維絲拉力試驗機測試方案計算標準:GB-T 3362-2005送樣單位:某建筑材料研究院試樣形狀:線材試驗日期:2013-01-11 15:25:19試驗時間:394.133331 s試驗速度:0.5 mm/min濕度:57%溫度:15℃試驗設備:CMT4304試驗夾具:薄膜拉…...
        塑料薄膜拉力試驗機測試GB/T 1040.3-2006

        塑料薄膜拉力試驗機測試GB/T 1040.3-2006 2020-10-21

        試驗方案:塑料薄膜拉伸試驗方案計算標準:GB/T 1040.3-2006試驗設備:三思泰捷電子拉力試驗機試樣形狀:板材材料名稱:薄膜試驗日期:2013-03-13 15:54:16試驗速度:50 mm/min濕度:64%溫度:22℃夾具:薄膜拉伸夾具(橡皮)備 注:送檢單…...
        GB/T 3923.1滌綸試驗機板材拉伸測試報告

        GB/T 3923.1滌綸試驗機板材拉伸測試報告 2020-10-21

        試驗方案:滌綸拉伸試驗方案計算標準:GB/T 3923.1-1997送樣單位:某醫療用品公司試驗設備:三思泰捷CMT4503拉力試驗機試驗日期:2013-01-25 17:54:00試樣名稱:滌綸試樣形狀:板材濕度:68%溫度:19℃夾具:多功能對夾(大波浪)試驗速度:…...
        滌綸布頂破試驗機測試方案

        滌綸布頂破試驗機測試方案 2020-10-21

        試驗方案:滌綸布頂破試驗方案計算標準:GB/T 3917.1-2009送樣單位:某醫療企業制造商試驗設備:三思泰捷CMT4503電子萬能試驗機試驗日期:2013-01-24 15:39:32試樣名稱:滌綸試樣形狀:板材濕度:68%溫度:19℃夾具:專用夾具試驗速度:20 …...
        電梯鋼絲繩單根鋼絲拉力機試驗方案

        電梯鋼絲繩單根鋼絲拉力機試驗方案 2020-10-21

        試驗方案:電梯鋼絲繩單根鋼絲拉伸試驗方案送樣企業:某德資鋼絲繩專業公司計算標準:GB/T 228.1-2010試樣形狀:線材試驗日期:2013-01-15 09:36:40試驗時間:1025.333374 s試驗速度:0.5 mm/min試驗設備:三思泰捷CMT4304拉力機試驗夾具:…...
        鋁合金棒材的萬能試驗機測試方案

        鋁合金棒材的萬能試驗機測試方案 2020-10-21

        試驗方案:鋁合金棒材拉伸試驗送樣單位:某合金材料企業計算標準:GB/T 228.1-2010試驗設備:三思泰捷CMT5504萬能試驗機試驗日期:2013-02-19 14:42:09試樣形狀:棒材材料名稱:鋁棒試驗速度:1 mm/min夾具:楔形拉伸濕度:60 %溫度:21 ℃…...
        某印刷包裝公司的紙品拉力試驗機測試

        某印刷包裝公司的紙品拉力試驗機測試 2020-10-21

        試驗方案:紙板拉伸試驗方案需求單位:某印刷包裝公司試驗設備:三思泰捷CMT4304電子拉力試驗機試驗日期:2013-03-22 11:25:01試樣名稱:紙試樣形狀:板材試驗速度:5 mm/min濕度:64%溫度:25℃夾具:平板對夾(牛筋皮)原始標距(Lo):1…...
        建筑鋁型材萬能試驗機測試GB5237.6-2012

        建筑鋁型材萬能試驗機測試GB5237.6-2012 2020-10-21

        鋁合金建筑型材,原國標為GB5237.6-2004,即將廢止,新的國標GB5237.6-2012即將在4月1日起開始執行。三思泰捷原該領域的老用戶如廣東堅美鋁型材是新國標的起草單位。修訂后的標準對于高低溫環境開始執行強制要求,試驗機必須具備高低溫環境…...
        GB/T14344-2008滌綸絲拉力機試驗方案

        GB/T14344-2008滌綸絲拉力機試驗方案 2020-10-21

        試驗方案:滌綸絲拉伸試驗方案計算標準:GB/T 14344-2008試驗設備:三思泰捷CMT1503電子拉力試驗機試驗日期:2012-08-22 16:20:28試樣名稱:滌綸絲試樣形狀:棒材濕度:58%溫度:16℃夾具:纏繞夾具備 注:試樣1、2、3試驗速度為250mm/min…...
        某汽車濾清器公司的拉力試驗機測試方案

        某汽車濾清器公司的拉力試驗機測試方案 2020-10-21

        試驗方案:金屬材料拉伸試驗方案計算標準:GB-T 228.1-2010試樣形狀:板材送檢單位:上海某汽車濾清器公司試驗設備:CMT4304電子萬能試驗機夾具:采用旋轉楔形拉伸夾具試驗速度:20 mm/min濕度:70 %溫度:22 ℃備 注:通過三思泰捷拉力試…...
        亞洲鋁業的拉力機試驗報告

        亞洲鋁業的拉力機試驗報告 2020-10-21

        試驗方案:金屬鋁片拉伸試驗方案計算標準:GB/T 228.1-2008試驗設備:三思泰捷CMT4304電子拉力機試樣形狀:板材試驗日期:2012-12-04 13:56:47材料名稱:鋁片試驗速度:10 mm/min濕度:73 %溫度:16 ℃夾具:旋轉式楔形拉伸(平牙夾塊) 引…...
        GB 15086-2006汽車門鎖拉力試驗機測試

        GB 15086-2006汽車門鎖拉力試驗機測試 2020-10-21

        汽車門鎖及車門保持件的試驗方法,按國標GB 15086-2006要求,需要測試門鎖的機械性能要求,需要使用到拉力試驗機進行測試。縱向載荷要求是,門鎖的鎖體和鎖扣總成在半鎖緊位置要能承受4440N的縱向載荷,在全鎖緊位置要能承受11110N的縱向載…...
        激情五月网