<samp id="jw3b8"></samp>
  • <progress id="jw3b8"><bdo id="jw3b8"></bdo></progress>
      <menuitem id="jw3b8"><strong id="jw3b8"></strong></menuitem>
    1. <tbody id="jw3b8"></tbody>
      <progress id="jw3b8"></progress>
      <tbody id="jw3b8"></tbody>

    2. <progress id="jw3b8"><bdo id="jw3b8"></bdo></progress><progress id="jw3b8"></progress>
      1. <menuitem id="jw3b8"><strong id="jw3b8"></strong></menuitem>

        <menuitem id="jw3b8"><ins id="jw3b8"></ins></menuitem>
        <samp id="jw3b8"></samp>

        三思泰捷
        國家高新技術企業英文站收藏我們 網站地圖

        三思泰捷

        試驗機專業制造商

        全國服務熱線: 400-666-9399

        ?PVC管材試驗機拉伸GB/T8804.1-2003

        作者: 來源: 發布日期: 2020.10.20
        信息摘要:
        ?PVC管材試驗機拉伸GB/T8804.1-2003


        熱塑性塑料管材PVC管材的拉伸性能主要測定拉伸屈服應力和斷裂伸長率,使用橡膠塑料拉力試驗機。GB/T8804.1就是關于試驗方法的規定。

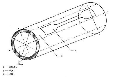
        試驗原理是,首先沿熱塑性塑料管材的縱向裁切或機械加工制取規定形狀和尺寸的試樣,然后通過拉力試驗機在規定條件下進行拉伸作業,測得管材的拉伸性能參數。

        取試樣時,按圖示:

        20190621164745_6093.jpg

        試驗過程注意事項:

        1、需使用引伸計;

        2、試樣夾持要合適,夾具不能滑脫,并不能夾傷試樣。

        資訊中心

        推薦資訊
        激情五月网